| 索引号: | 11370831668097287N/2020-12713 | 公开方式: | 主动公开 |
| 发布机构: | 泗水县人民政府办公室 | 组配分类: | 泗政办发 |
| 成文日期: | 2020-08-07 | 废止日期: | |
| 有效性: |
泗政办发〔2020〕9号泗水县人民政府办公室关于印发泗水县重点工业投资项目“拿地即开工”实施方案的通知
各镇人民政府、街道办事处,县政府有关部门:
《泗水县重点工业投资项目“拿地即开工”实施方案》已经县政府同意,现印发给你们,请认真贯彻执行。
泗水县人民政府办公室
2020年8月7日
(此件公开发布)
泗水县重点工业投资项目“拿地即开工”实施方案
为贯彻落实省委、省政府和市委、市政府“一次办好”改革决策部署,全面优化再造审批流程,大幅度提高重点工业投资项目审批效率,实现项目“拿地即开工”,制定本实施方案。
一、总体要求
对已确立政企双方投资互信关系的重点工业项目,依申请在标准地出让准备阶段,按各项准入条件先行开展项目前期工作,在取得土地权属证明后,立即办妥至核发施工许可证为止的全部审批事项,确保企业拿地即可开工建设。
二、实施范围
全县新建重点工业投资项目,适用本实施方案。涉及危险化学品生产、储存、输送的建设项目,关系国家安全和生态安全、涉及重大生产力布局、重大公共利益的项目除外。
三、实施原则
(一)自愿申请,超前服务。“拿地即开工”审批模式以企业自愿申请为前提。谋划在前,做深前期,突出项目前期准入的集成与并联审批服务,将需要依法履行的审查、公示、评审、听证等工作与“标准地”出让同步完成。
(二)依法合规,承诺守信。创新审批方式,审批部门事先告知实行承诺制的审批事项清单和具体要求,企业按要求作出书面承诺后,审批部门直接作出行政许可。
(三)政府定标,按标施建。政府按设定的“标准地”控制性指标出让,企业取得土地立即办结各项审批事项,随即按各项准入条件实施项目建设。政府部门做好审批服务和监管验收。
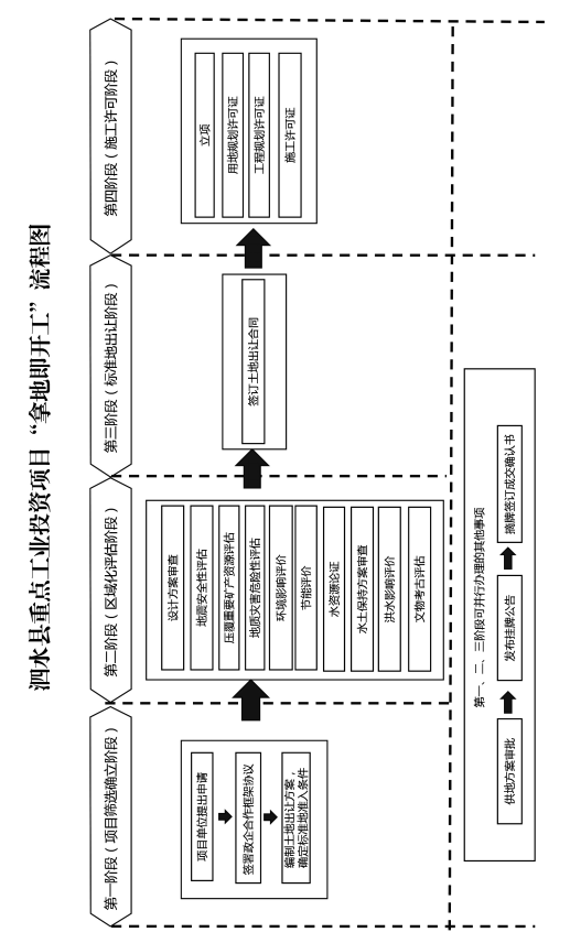
四、基本流程
(一)项目筛选确立阶段。对有投资意向的项目,由县容缺办牵头召开项目确立会议,行业主管部门进行预审,明确筛选意见,报县政府审定后确立政企互信关系,形成会议纪要或签署政企合作框架协议。项目属地镇(街道)政府(办事处)、泗水经济开发区管委会做好拟出让地块政策处理扫尾和“三通一平”硬环境,高标准落实“净地”供地准备。县自然资源和规划局会同项目所在地政府编制土地出让方案,确定标准地准入条件,对拟出让标准地验收后,报县政府审定。
(二)区域化评估阶段。项目属地镇(街道)政府(办事处)、泗水经济开发区管委会提出申请,由县容缺办牵头,组织县发展改革局、县住房城乡建设局、县自然资源和规划局、县财政局、县司法局、县水务局、县文化和旅游局、县行政审批服务局、县应急局、市生态环境局泗水县分局、县投资促进中心等单位召开区域化评估会议,对项目是否开具地震安全性评估、压覆重要矿产资源评估、地质灾害危险性评估、环境影响评价、节能评价、水资源论证、水土保持、洪水影响评价、文物考古评估等评估评价事项明确意见。县自然资源和规划局明确项目所在地块的建设条件和规划条件。各部门2个工作日内将是否需要开展评估评价事项的书面意见、建设条件和规划条件推送至项目招引单位。项目单位应及时准备评估评价材料、规划设计方案,并按程序申请审查。
(三)“标准地”出让阶段。县自然资源和规划局负责做好带修建性详细规划的“标准地”出让和土地出让合同的签订等工作,建立缴费、不动产登记等“一条龙”服务的工作机制,企业按合同要求缴清土地出让金后,即时办理不动产权证。
(四)施工许可阶段。县行政审批服务局帮办代办为企业做好网上立项备案,依据“标准地”修建性详细规划、土地出让合同,采用“容缺办理”“承诺办理”等方式,在要件材料齐全情况下依次核发项目用地规划许可证、工程规划许可证、施工许可证,确保企业拿地即可开工建设。
五、保障措施
(一)提高认识,加强组织领导。有关单位要高度重视该项工作,主要负责同志为第一责任人,按照本方案要求细化工作方案,逐项落实涉及本单位事项的办理工作,健全工作机制,明确工作措施,压实责任,狠抓工作落实,确保各项工作任务高质高效完成。
(二)强化监管,推进企业诚信体系建设。对于实行告知承诺制审批的企业,县住房城乡建设局应当加强事中事后监管,牵头组织联合验收,建立健全检查、记录和惩戒的监管机制,实行对不守诺行为的惩戒措施,利用信息共享实现跨部门联合惩戒,进一步强化有诺必守的主体责任。
(三)加强统筹,把“拿地即开工”落到实处。“拿地即开工”实行全程代办、全程协调、全程监督。由县发展改革局、县投资促进中心、县行政审批服务局做好统筹、协调和监督,由供地部门、审批部门密切配合和高度协同,创出一条“一次办好”改革的新路子。
本方案自印发之日起施行。
附件:泗水县重点工业投资项目“拿地即开工”流程图
![]()

泗政办发〔2020〕9号泗水县重点工业投资项目拿地即开工实施方案.docx
泗政办发〔2020〕9号泗水县重点工业投资项目拿地即开工实施方案.pdf
图文解读:【图文解读】关于《泗水县重点工业投资项目“拿地即开工”实施方案》的政策解读
来源:泗水县人民政府办公室